概述S13 变压器节能显著,磁路均匀,空载损耗低、声低、温升低、免维修、效率高、配电变压器节能效果显著,采用新型铁芯材料。磁路分布均匀,大大降低了空载激磁电流和空载损耗,由于铁为全斜三接缝结构,故运行可靠、体积小、重量轻、噪声低、工艺性好,散热好温升低、不吊芯结构、不污梁环境、免维修、效率高。可供居民区、商业街道、工矿企业和农村动力及照明之用。特点◆节能,与原 59 相比,空载损耗平炮降低 29.
本说明书适用本公司生产的全密封油浸式电力变压器,额定容量在 3150KVA及以下,电压等级35KV及以下。
一、用途及特点
全密封油浸变压器除适用于一般电力变压器使用的场合外,尤其适 用于石油化工、冶金、纺织、轻工及湿度较大、维护不便的企业、矿山、农 村等。
本产品取消了储油柜、吸湿器等油保护装置,确保变压器油不与空气接 触,所有密封件均用密封优异的特种橡胶,采用真空注油,在一般情况下, 变压器不需任何处理可连续使用20年,维护费用低是本产品的主要特点,并 且运行可靠性增强、使用寿命延长。
二、型号说明
S□-M-□ □
S——三相
□——性能水平代号(11、13、20)
M——密封
□——额定容量(kVA)
□——高压电压等级(10kV)
三、运输
1、运输及安装过程中,起吊变压器时,应同时使用油箱上的四个吊攀可以 承受变压器总装后注满足量变压器油后的总重量,箱盖上的吊板仅供起吊器 身之用,起吊时钢索与垂线之夹角不得大于30°。如果不能达到这种要求时, 则应采用专门横梁起吊变压器。
2、本产品的所在紧固部位均采用防松螺母,保证了可靠的紧固。但在运输 过程中仍要保证变压器具有足够的稳定性,变压器斜度不得大于15°。起吊 时应轻提轻放,在无起重设备的条件下,地面移动时应缓慢,以防止剧烈震 动。
四 、验收与存储
1、用户收到变压器后,应立即按铭牌查对所收到的产品型号,规格是否与订 货合同相符,随之仔细检查变压器各部位有无损坏,易损部件,如信号温度 计、套管等是否损坏,信号温度计软管有否压扁折断现象。特别要注意瓷套 管的完整性,这根据套管有无渗油现象来判断,并检查变压器各密封部分有 无漏油,渗油现象。
2、变压器如不立即安装和投入运行而需长期储存时,所有密封处应封好,备 件也要妥善保存,并定期检查存储情况。
五、变压器的安装和维护
1、变压器的安装
1.1用户用铲车或其它搬运工具将变压器平稳地搬运到指定的安装位置。
1.2安装时注意不要损坏套管等易损件,不要碰伤油箱、擦伤漆膜。
2、变压器投运前的检查及判定基准
2.1全密封油浸电力变压器运到用户处后,不必吊芯检查。
2.2对变压器按《电气装置安装工程电气设备交接试验标准》做以下项目的试 验。
2.2.1测量绕组连同套筒的直流电阻,其值与同温下的出厂实测数值比较,变 化不应大于2%。
2.2.2检查所有分接头的变化,与出厂数据相比应无明显差别。
2.2.3检查变压器的联结组标号与铭牌标记是否一致。
2.2.4绝缘电阻值应与同温下的出厂值相接近,应不少于表1数值。
表1 绝缘电阻值(MΩ)
温度
| 20 | 30 | 40 | 50 | 60 |
<6 | 400 | 200 | 100 | 50 | 25 |
6以上未满20 | 800 | 400 | 200 | 100 | 50 |
20以上满60 | 1000 | 500 | 250 | 125 | 65 |
说明:1.测定时非被试线圈接地。2.使用2500V兆欧表或专用仪表。
2.2.5绕组连同套管的外施工频耐压试验电压,见表2。
表2 高压电器设备绝缘工频耐压实验标准
额定电压(KV) | 3 | 6 | 10 | 15 | 20 | 35 |
出厂实验值 | 18 | 25 | 35 | 45 | 55 | 85 |
交接实验值 | 15 | 21 | 30 | 38 | 47 | 72 |
2.2.6变压器油常规试验项目按新油(投入运行前)的要求检查,见表3。
表3投入运行前变压器油的实验项目及标准
序号 | 项 目 | 投入运行前油箱内新油 |
1 | 外观 | 透明、无杂质 |
2 | 闪点C(密封式) | 140 |
3 | 水分mg/1(ppm) | ≤20 |
4 | 酸值mgKOH/g | <0.03 |
5 | 击穿电压KV(2.5mm)油隙 | 35KV及以下:≥35 |
6 | 介质损失角正切tan8%(90°℃) | ≤0.7 |
7 | 界面张力mN/m(25°C) | ≥35 |
8 | 水容性酸(PH值) | ≥5.4 |
2.2.7取油样方法
①将直径约为80-100mm的玻璃试杯和100ml左右的针筒擦洗干净并烘干。
②旋开油箱下部的油样阀门罩。
③将油样阀门出油口及附近用干净的纸或布擦干净。
④将玻璃试杯对准阀门出油口。
⑤用扳手将油样阀的螺栓缓慢旋开使油流入杯中,同时将针筒针头置入油样 阀油出口处抽取油样。
⑥油样的量由用户根据实验项目所需而定。
⑦当油样取完后,旋紧油样阀门螺栓和阀门罩。
⑧打开变压器箱盖上部的注油管盖,将与所取油样同型号,同重量,并经试 验合格的变压器油缓慢地倒入注油管内,并旋紧注油管盖,取油样和补油过 程完毕。
3.变压器的维护
3.1全密封油浸变压器的维护点检标准按表4、表5。
表4 定期点检标准
序号 | 点检项目 | 点检要领 | 周期 | 判定标准 | 备注 |
1 | 绝缘电阻 | 使用2500V摇表或相 同效果的测量仪, 测相间对地 | 不定期 | 35KV侧:270MΩ 10KV侧:200M Ω 1KV侧:50MΩ | 严重过电压 或严重事故 后,进行此 项实验 |
2 | 绝缘油 | 色谱分析 | 6年 | GB7252-87 《变压器油中溶 解气体分析和 判断导则》 | 严重过电压 或严重事故 后,进行此 项实验不受 周期限制 |
3 | 温度计 | 1.内部点检(生锈吸湿) 2.密封垫状况 3.温度指示,指示动作 4.温度额定值 | 2年 | 1.无锈 2.无破损 3.指示动作正常 (轻轻敲打一下) 4.85℃ | |
4 | 油位计 | 1.外观点检 2.油面是否充满油 | 1年 | 1.无生锈,玻璃 上无油污 2.油面线是否 能见到 | 无油位计 的则不检 查此项 |
5 | 套管 | 1.端子状态 2.套管状态 3.渗漏油否 | 2年 | 1.松动、变色均无 2.破损、污损均无 3.无漏油、无漏气 | 如有异常应 及时处理 |
6 | 接地线 | 坚固状态 | 2年 | 无松动、无断线 | |
7 | 压力 释放阀 | 1.密封处是否渗油 2.引出线连接是否 牢固 | 2年 | 1.无渗油 2.如有异常应 及时处理 | 如有渗漏 及时处理 |
表5 日常点检标准
序号 | 点检项目 | 点检要领 | 周期 | 判定标准 | 备注 |
1 | 本体外观 | 有无脏污、裂纹渗油 | 1 月 | 不可有脏污、裂 纹漏油等 | 如有异常应 及时处理 |
2 | 本体的异 音异味 | 有无异常声音、异常 气味(听觉、嗅觉) | 1 月 | 1.由激磁等引起 的声音和振动是 正常的 2.导电部分的紧 固螺母松动及放 电等发生异常的 声音 3.绝缘物的燃烧 均会发生特殊臭 味 | 如有异常及 时调查原因 并处理 |
3 | 本体温度 | 温升是否正常 | 1 月 | 根据变压器承担 的负荷电流与油 面温升有关 | 如有异常及 时调查原因 并处理 |
4 | 本体油面 | 油面是否正常(油面表) | 1 月 | 油应充满油位计 | 无油位计的 可不作点检 |
5 | 电流 | 电流是否超过允许值, 三相电流是否平衡 (电流表) | 1 月 | 在额定范围内各 相电流大致平衡 | 不平衡严重 的应及时调 整 |
3.2渗油处理和补油方法
3.2.1密封处渗油可用扳手将螺旋拴旋紧,并擦干油迹。
3.2.2如密封材质引起渗油,应调换密封件。
3.2.3焊缝渗油,应及时处理。
3.2.4渗油处理后,补油方法同2.2.7第8点。
3.2.4.1补油量:一般情况下渗出油箱的油量较少,故补油量以箱盖上的注油 注满油为准,可不考虑当时的油温和环境温度。
3.3全密封变压器真空注油的目的,最主要的是使线圈内的气体在真空条件下 尽可能的排除,让变压器油充满线圈内部和绝缘材料的空隙,提高变压器的 绝缘性能和使用寿命。由于因渗油而需补油的量很小,因此不影响线圈的绝
缘性能(制造厂在真空注油工艺中规定:在真空注油的条件下将油注到距箱 盖100mm左右,然后停止注油,但继续保持真空1小时,然后再从箱盖上注 油管注油,使油位升到注油管顶部)。
六、允许运行方式
1、额定运行方式
1.1变压器应安装温度保护继电器,在规定的冷却条件下可按铭牌规范运行。
1.2变压器运行中的允许温度按上层油温升来检查,上层油温升允许值为55°C, 但最高温度不得超过95°℃。为避免变压器油老化过快,上层油温不宜经常超 过85℃。
1.3升压变压器和降压变压器的外加电压可以较额定值为高,但一般不得超过 额定值的5%,无论电压分接头在任何位置,如果所加一次电压,不超过其相 应电压值5%,则变压器的二次侧可带额定电流。
2、允许的过负荷
2.1变压器可以在正常过负荷和事故过负荷的情况下运行。正常过负荷可以经 常使用,其允许值根据变压器的负荷曲线,冷却介质的温度心及过负荷前变 压器所带的负荷等来确定。事故过负荷只允许在事故情况下使用。例如运行 中的若干台变压器中有一台损坏又无备用变压器,则其余变压器允许按事故 过负荷运行。
2.2变压器事故过负荷的允许值应按下表规定:
| 事故过负荷对额定负荷之比 | 1.3 | 1.5 | 1.75 | 2.0 | 3.0 |
过负荷允许的持续时间(分) | 120 | 45 | 20 | 10 | 1.5 |
3.允许的短路电流的不平衡电流。
3.1变压器的短路线电流不得超过额定电流的25倍,短路电流通过的时间不应 超过根据以下式计算所得的数值:
T=900/K秒,式 中K为稳定短路电流对额定电流的倍数。
3.2线圈按Y,yn0接的变压器,中线电流一般不得超过低压线圈额定电流的25% (用户有特殊要求的除外)
油浸电力变压器通用组件使用说明书
一 、概述
本使用说明书适用于本厂生产的电力变压器用通用组件,包括套管,分接 开关、压力释放阀、油样活门、温度计座、接地螺栓、放油活门。其它各标 准组件另附使用说明书。
二、使用和维护
(一)、35千伏及以下变压器套管使用说明书

图1

图2 图3
1.图1为复合式套管,用于电压1千伏及以下,电流为300-3000A.图2为穿缆式 套管,用于电压为10千伏,电流为50-300A。图3为穿缆式套管,用于电压为35 千伏,电流为35-600A。
2.变压器出厂时,套管均装配在变压器油箱上,随变压器一起发送至用户。
3.如需拆卸或更换瓷件式,应按下列方法进行。
①复合式套管,首先起吊器身,而后卸下套管下部的引线,最后旋下所有固紧 螺帽,卸下套管将已擦洗烘干的更换套管换上。
②凡穿缆式套管,更换套管时,可不吊器身,而在外部更换套管,更换时应旋 下接头螺帽,并用铜线或纱带拉住接头以防滑入油箱,然后拆除,瓷盖及密封 垫和压板等。
4.将套管安装于变压器油箱上时,应注意下列事项:
①对于复合式套管,为使瓷件充分地夹紧在变压器的箱盖上防止渗漏油,必须 旋紧套管上下部紧固瓷件的螺帽。
②对于穿缆式套管,须均匀地旋紧固定套管之压件螺杆的螺帽,当套管牢固地 安装于变压器油箱上后,再将导电杆固定。
5.套管在常年使用中,应根据污垢情况,而经常擦洗瓷伞表面,以防瓷套表面 放电。
(二)、无励磁分接开关
本公司生产的三相油浸式全密封电力变压器,在一般情况下其箱盖上均装 有WSP型无载分接开关,以备在不带电时变换高压侧分接头使用。
1.WSPII1 型无励磁中性点调压分接开关典型结构如图4所示。
2.对于±5%调压范围其分接开关字盘数字指示的电压值:1指示较额定电压值 +5%之分接头,2指示额定电压值,3指示较额定电压值-5%之分接头。
3.变换分接开关位置时,须先将项4罩上螺钉旋松取下,将项3手柄定位件从槽 孔中扳出,再转动项2至所需的分接位置,把手柄定位件嵌入相应槽孔中, 盖上罩。
4.分接开关如因变压器工作需要而经常在一个位置上工作时,为消除触头部分 之氧化膜及油污等物,保证接触良好,不论变压器是否需要改变电压,每年至 少要往返转动分接开关10次以上。如果不需要改变电压时,在转动后仍旧固定 在原来的位置上,更换分接头位置后应用电桥或万用表测量通路后才可投入运行。
5.如发现有变压器油从分接开关出渗出时,应查明是从何处渗漏出来。如果 从变压器油箱盖和分接开关法兰盘处渗漏出来时应即拧紧项6扁螺母,若转轴 与法兰渗油则拧紧项5螺母,但不得拧的过紧,以免过大增加旋转力矩。

图 4 WSPIII 1型分接开关
如果是中部调压,则用WPS Ⅱ1型无励磁分接开关,其操作维护方法与 上述基本相同。除上述之外的无励磁分接开关,请详见相应的分接开关说明书。
(三)、压力释放阀
1.产品用途和性能简介:
压力释放阀(以下简称释放阀)适用于液体或气体绝缘的变压器、互感 器、有载分接开关、高压开关及电容器等产品,用来保护油箱。
当变压器或有载分接开关内部发生事故时, 一部份变压器被气化,使 变压器油箱内部的压力迅速增加。如果不采取可靠地保护措施,油箱可能变 形甚至爆裂。释放阀能万无一失地保护变压器油箱不受损害。当油箱压力达 到释放阀的动作压力时释放阀在2毫秒以内开启,及时释放油箱内的过压。
释放阀一旦开启后,油箱内的压力一直下降到动作压力的53-55%左右时,释 放阀才能可靠关闭。释放阀的这一特殊功能是保护对象的特别需要,能有效地 保护油箱不受损害。当油箱内的压力再升高而达到动作压力时,释放阀就再次 动作,直到油箱内的压力下降到正常值。变压器通电使用时一定要拆除11保险 片。
由于释放阀动作后能可靠关闭,油箱外的空气和水份不能进入油箱,变 压器油不会受大气污染。
2.型号、规格、基本参数
2.1型号
YSF□-□ □ □
YSF——压力释放阀代号
□——设计序号
□——开启压力kPa
□——喷油有效口径mm
□——报警信号环境条件及闭锁装置※
※:1.用于机械信号标“J”。
2.用于湿热带区,则在“J”标记后加“TH”。
3. 用闭锁装置,则在之后加标 “B”。
例如:YSF6-35/25JTHB
即为喷油口径φ25mm, 开启压力35kPa, 带机械报警信号,用于湿热 带闭锁装置,第六次设计的压力释放阀。
2.1规格及基本参数见表1
3.结构压力释放阀结构见图5所示。
表1 规格及基本参数表
有效口径 (mm) | 开启压力 (kPa) | 开启压力极限 偏差(kPa) | 关闭压力 (kPa) | 密封压力 (kPa) |
φ25 φ50 | 15 | ±5 | 8 | 9 |
25 | 13.5 | 15 | ||
35 | 19 | 21 | ||
55 | 29.5 | 33 |

图5 压力释放阀结构示意图
4.使用
选用有闭锁装置的释放阀设备,设备投入运行前应将闭锁销拆除,否则 阀不能开启。
运行中的压力释放阀动作后,应在查出故障后将其标志杆复位,以便再 次使用。安装时释放阀不可随意拆卸。
压力释放阀有渗漏油现象,应及时采取措施解决,渗漏油的主要原因大 致 有 :
a. 由于某种原因,油箱内压力偏高,已超过释放阀的密封压力但尚未达到 开启压力,造成渗漏,查出原因,采取措施,降低压力即可解决。
b.阀内几种密封圈有的已老化失效,应及时与厂方联系更换失效的密封胶 圈 。
c. 密封面有异物,及时消除即可。
5.维护与检修
5.1利用电气设备每次停电检修的机会对阀进行下列检修。
a.开启动作是否灵敏。
b.密封圈是否已老化,变形或损坏。若发现异常必须及时更换,以免因 胶圈老化后导致释放阀渗漏油甚至失效。
c. 清楚阀内异物。
d.零部件是否锈蚀,变形或损坏。
5.2用户应适量备几台释放阀,以备检查时替换。
(四)、油样活门
一般装于油箱下部低压侧方向,供取油样用。使用时先将罩拧开,把取油 样软管套在软接头1:然后慢慢拧动塞子,使油能从接头中放出为止,完毕后将 罩拧上。

图6
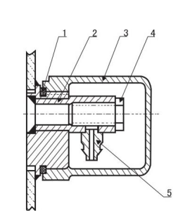
(五)温度计座
供测量变压器油面温升。测量用的水银温度计由用户自备。温度计座的 结构如图7。温度讯座内充满变压器油,当测量油面温升时,只需开罩盖,插 入水银温度计即可。测量完毕再取出温度计,重新旋紧罩盖。

图7
(六)接地螺栓
在油箱低压侧下部焊有接地螺栓,供变压器整体接地用。其结构如图8 所示。在项2垫圈,户联接接地母线,旋紧项3螺栓,以保证变压器安全运行。 为便于识别,置有接地标志牌。

图8
(七)放油活门
放油活门装于油箱低压侧方向,供变压器事故或清洗放油用。

图 9

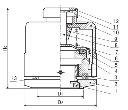
全密封油浸式电力变压器部组件
序号 | 代 号 | 名 称 | 数量 | 备 注 |
11 | 分接开关 | 1 | ||
10 | 信号温度计座 | 1 | 1000KVA以上有 | |
9 | 水银温度计座 | 1 | ||
8 | 接地螺栓 | 1 | ||
7 | 油样活门 | 1 | ||
6 | 变压器箱体 | 1 | ||
5 | 气体继电器 | 1 | 800KVA以上有 | |
4 | 低压套管 | 4 | ||
3 | 高压套管 | 3 | ||
2 | 油位计 | 1 | ||
1 | 压力释放阀 | 1 |