自动化技术广泛用于工业、农业、军事、科学研究、交通运输、商业、医疗、服务和家庭等方面。采用自动化技术不仅可以把人从繁重的体力劳动、部分脑力劳动以及恶劣、危险的工作环境中解放出来,而且能扩展人的器官功能,极大地提高劳动生产率,增强人类认识世界和改造世界的能力。

使用环境条件
◆周围空气温度:上限 +40℃下限一般地区 -10℃:
◆海拔:1000m;
◆湿度:
相对湿度:日平均值不大于95%,月平均值不大于90%;
水蒸气压力:日平均值不大于 2.2KPa,月平均值不大于1.8KPa
当温度骤降时可能出现凝露,伴随污秽,本产品适用于比以下正常条件更严酷的两种环境条件:
(1).凝露不频繁(每月平均不超过两次)有轻度污秽;
(2).一般不出现凝露(每年平均不超过两次)有较严重污秽;
◆没有火灾、爆炸危险及严重污秽足以腐蚀金属和破坏绝缘的气体等恶劣场所;
◆没有剧烈震动、颠簸及垂直倾斜度不超过 80 的场所;
注:(1)允许在-30℃时储运;
(2)当海拔超过1000m的地区,按JB/2102《高压电器使用海拔地区的技术要求》处理;当海拔不超过2000m 时,低压辅助设备不需要采取任何措施;
(3)当实际使用条件与上述不同时,应由用户和制造厂双方协商。
型号及含义
K Y N 28 - 12/ □ - □
└─额定开断短路电流(KA)
└─额定电流(A)
└─额定电压(KV)
└─设计序号
└─户内
└─移开式
└─金属铠装
开关柜结构示意图
图1

A.断路器隔室 B.母线隔室
C.电缆室 D.继电器仪表室
1. 母线 2. 静触头盘 3.断路器
4.接地开关 5.电流互感器
6.电容分压器 7.避雷器
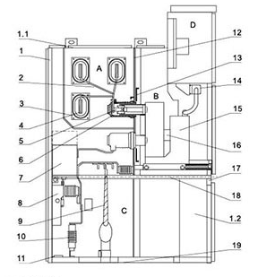
图2 开关设备结构示意图

1. 外壳 2.分支小母线 3.母线套管 4.主母线
5.静触头装置 6.静触头盒 7.电流互感器
8.接地开关 9.电缆 10.避雷器 11.接地主母线
12.装卸式隔板 13.隔板(活门) 14.二次插头
15.断路器手车 16.加热器装置 17.可抽出式水平隔板
18.接地开关操作机构 19.底板
A.母线室 B.断路器手车室 C.电缆室 D.继电器仪表室
1.1.泄压装置 1.2.控制小线槽
符合标准
产品符合下列标准:
1.IEC-298
2.GB3906-1991
3.DLT404-19974.GB/T11022-1999
一次接线方案
| 方案号 | 001 | 002 | 003 | 004 | 005 | |
一次线路图 |
| |||||
| 额定电流(A) | 630-4000 | |||||
一 次 主 要 电 器 元 件 | 真空断路器 | 1 | 1 | 1 | 1 | 1 |
| 电流互感器LZZBJ9-12 | 2 | 2 | 2 | 3 | 3 | |
| 电压互感器 RZL/REL | ||||||
| 高压焙断器 (XRNP □ ) | ||||||
| 接地开关(EK6/JN15-12) | 1 | 1 | 1 | |||
| 避雷器 HY5WZ-17/45 | 3 | |||||
| 用途 | 受电馈电 | 受电馈电 | 受电馈电 | 受电馈电 | 受电馈电 | |
| 方案号 | 006 | 007 | 008 | 009 | 010 | |
一次线路图 |
| |||||
| 额定电流(A) | 630-4000 | |||||
一 次 主 要 电 器 元 件 | 真空断路器 | 1 | 1 | 1 | 1 | 1 |
| 电流互感器LZZBJ9-12 | 3 | 2 | 2 | 2 | 2 | |
| 电压互感器 RZL/REL | ||||||
| 高压焙断器 (XRNP □ ) | ||||||
| 接地开关(EK6/JN15-12) | 1 | 1 | 1 | |||
| 避雷器 HY5WZ-17/45 | 3 | |||||
| 用途 | 馈电 | 联络(右) | 联络(右) | 联络(左) | 联络(左) | |
| 方案号 | 011 | 012 | 013 | 014 | 015 | |
一次线路图 |
| |||||
| 额定电流(A) | 630-4000 | |||||
一 次 主 要 电 器 元 件 | 真空断路器 | 1 | 1 | 1 | 1 | 1 |
| 电流互感器LZZBJ9-12 | 3 | 3 | 2 | 2 | 2 | |
| 电压互感器 RZL/REL | ||||||
| 高压焙断器 (XRNP □ ) | ||||||
| 接地开关(EK6/JN15-12) | 1 | 1 | 1 | |||
| 避雷器 HY5WZ-17/45 | 3 | |||||
| 用途 | 架空进线(右联络) | 架空进线(右联络) | 架空进出线 | 架空进出线 | 架空进出线 | |
| 方案号 | 016 | 017 | 018 | 019 | 020 | |
一次线路图 |
| |||||
| 额定电流(A) | 630-4000 | |||||
一 次 主 要 电 器 元 件 | 真空断路器 | |||||
| 电流互感器LZZBJ9-12 | ||||||
| 电压互感器 RZL/REL | /3 | 2/ | /3 | 2/ | /2 | |
| 高压焙断器 (XRNP □ ) | 3 | 3 | 3 | 3 | 3 | |
| 接地开关(EK6/JN15-12) | ||||||
| 避雷器 HY5WZ-17/45 | 3 | 3 | 3 | |||
| 用途 | 电压测量+避雷器 | 电压测量+避雷器 | 电压测量+避雷器 | 电压测量(左联) | 电压测量(右联) | |
| 方案号 | 021 | 022 | 023 | 024 | 025 | |
一次线路图 |
| |||||
| 额定电流(A) | 630-4000 | |||||
一 次 主 要 电 器 元 件 | 真空断路器 | |||||
| 电流互感器LZZBJ9-12 | 2 | 2 | 3 | 3 | 2 | |
| 电压互感器 RZL/REL | 2/ | 2/ | 2/ | 2/ | /3 | |
| 高压焙断器 (XRNP □ ) | 3 | 3 | 3 | 3 | 3 | |
| 接地开关(EK6/JN15-12) | ||||||
| 避雷器 HY5WZ-17/45 | ||||||
| 用途 | 计量+右联 | 计量+左联 | 计量+左联 | 计量+右联 | 计量+左联 | |
| 方案号 | 026 | 027 | 028 | 029 | 030 | |
一次线路图 |
| |||||
| 额定电流(A) | 630-4000 | |||||
一 次 主 要 电 器 元 件 | 真空断路器 | 1 | ||||
| 电流互感器LZZBJ9-12 | 3 | 电容器Bm12.7-16-1 3 | ||||
| 电压互感器 RZL/REL | /3 | 变压器1 | /4 | /4 | ||
| 高压焙断器 (XRNP □ ) | 3 | 3 | (XRNT)3 | 3 | 3 | |
| 接地开关(EK6/JN15-12) | 1 | 1 | 1 | |||
| 避雷器 HY5WZ-17/45 | 3 | 3 | 3 | |||
| 用途 | 进线+计量 | 所用变压器柜(柜宽按所用变尺寸定) | 电容器柜 | 电压测量+避雷器 | 电压测量+避雷器 | |

◆A手车 手车骨架系用薄钢板经 CNC机床加工后经铆、焊而成的。根据用途手车可分为断路器手车、电压互感器手车、隔离手车、计量手车等等相同规格的手车统方便互换。手车在柜内有隔离位置、试验位置和工作位置,每一位置均设有定位装置,以保证手车处于以上位置时不能随便移动而移动手车时必需要解除联锁。 |
|
◆B母线室 母线从一个开关柜引至另一开关柜通过分支母线和静触头盘固定。扁平的分支母线通过螺栓连接于静触头盘和主母线不需要任何其它的线夹或绝缴子联接。当用户和工程特殊需要时,母线排上的联接螺栓可用绝缘和端帽封装。在母线穿越开关柜隔板时,用母线套管固定。如果出现内部故障电弧,能限制事故蔓延到邻柜,并能保障母线的机械强度。 |
|
◆C电缆室 电缆室内可安装电流互感器、接地开关、避雷器以及电缆、并在其底部配制开缝的可卸铝板,以确保现场的施工方便。 |
|
◆D 继电器仪表室 继电器仪表室用于安装各类继电器、仪表、信号指示、操作开关等元器件。此外可根据用户要求在仪表室顶部增加小母线室,可敷设十六路控制小母线。 |
|
◆锁扣结构 中门与柜体之间的联接采用锁扣结构,并配以提升机构,使中门开启更为方便,当中门处于关闭状态时,其与柜体的联接强度更好,增强了有效抗击内部燃弧故障的能力。 |
|
◆D继电器仪表室 仪表室门关闭,仪表室正视图。 | ◆泄压装置 在手车室、母线室、电室的上方设有泄压装置,当断路器或主母线、电缆室内发生内部故障电弧时,伴随电的出现,开关柜内部气压上升,达到一定的压力后,顶部装置的压力释放金属板将被自动打开,释放压力和排泄气体,以确保操作人员和开关柜安全。 |